信息來源于:互聯網 發布于:2021-05-26
??????東莞cnc加工廠目前,對國內卡丁車(類似碰碰車)都從國外進口,其中鋁合金車輪是一個重要零件。過去,國外采用壓力鑄造生產該鑄件,鑄件質量差,且成品率低,勞動強度大。針對該鑄件的結構特點和性能要求,如何提高其產品質量、降低原材料消耗、節約能源、提高勞動生產率及降低鑄件成本,是當前生產中的關鍵。從研制的情況可知,采用擠壓鑄造代替壓力鑄造是今后制造鋁合金車輪行之有效的工藝。
1 車輪材料、要求及鑄件設計
圖1所示為鋁合金車輪零件圖。車輪不僅有較高的性能要求,而且形狀十分復雜。

車輪材料的化學成分(質量分數)為:1.5%~3.5%的Cu,10.5%~12.0%的Si,<0.3%的Mg,<1.0%的Zn,<0.5%的Mn,<1.3%的Fe,<0.5%的Ni,<0.5%的Sn,其余為Al。力學性能要求:σb>276 MPa,σs>115 MPa,σ>4.4%,HB>92。
精密零部件加工該車輪內外形的尺寸精度較高,都應加放加工余量及余塊。按擠壓鑄造工藝的要求,把形狀復雜的車輪零件圖設計如圖2所示的鑄件圖。
由該圖可見,為便于從鑄件內孔脫出及簡化模具加工,把原來的階梯軸孔設計成圓柱形中心孔,其直徑為φ30 mm,內壁斜度為3°[1]。

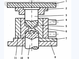
2 模具結構及設計參數[1]
?? 2.1 擠壓鑄造模具結構
精密零部件加工?鋁合金車輪擠壓鑄造的模具結構如圖3所示。它主要有凸模、右凹模、頂桿鑲塊和左凹模組成所要求的型腔。左凹模和右凹模分別固定在左凹模定模板和右凹模動模板上,左凹模定模板用螺釘緊固在下模板上,右凹模動模板經過側缸在導柱上實施開啟及閉合。

1.上模板?2.凸模固定板?3.凸 模?4.導 柱?5.右凹模?6.右凹模動模板7.墊 板?8.下模板?9.頂桿鑲塊?10.左凹模?11.左凹模定模板
東莞cnc加工廠采用2000 kN油壓機改裝進行擠壓鑄造,其工作過程是:將定量的合金熔液澆入型槽后,固定在活動橫梁上的凸模以一定速度向下擠入型腔,壓力達一定數值后保壓;鋁合金凝固后卸壓,凸模通過工作缸的回程向上移動,頂桿鑲塊通過下頂缸從鑄件內向下退出,直到全部脫離鑄件之后,再用側缸開啟右凹模,取出鑄件。